Only Cub Cadets

PLEASE PATRONIZE OUR SPONSORS!

CC Specialties R. F. Houtz and Sons Jeff in Pa.

P&K Cub Cadet Machtech Direct

Cub Cadet Parts & Service


If you would like to help maintain this site & enhance it, feel free to donate whatever amount you would like to!




Attention Guest, We have turned off the forum to guest. This is due to bots attacking the site. It is still free to register.

-->
Go Back   Only Cub Cadets > Cub Cadets > Implements and Attachments

Notices

Reply
 
Thread Tools Display Modes
  #1  
Old 12-06-2013, 08:42 AM
ssechrist ssechrist is offline
Senior Member
 
Join Date: Feb 2013
Location: Oklahoma
Posts: 154
Default Brinly Plow Gauge Wheel

I seen a gauge wheel kit for a brinly plow on a website a while back & I can't seem to find it again. It was an after market bolt on kit with a pneumatic tire. I think the price tag was around $55. Anyone ever see one of these on a website? I think if I could see it up close I could probably build one myself.
Reply With Quote
  #2  
Old 12-06-2013, 09:32 AM
cub123's Avatar
cub123 cub123 is offline
Grand Member
 
Join Date: Dec 2010
Location: VA
Posts: 1,545
Default

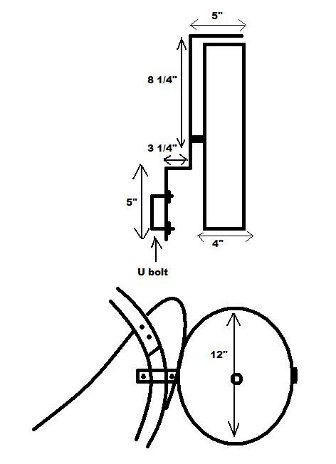
I know what your talking about, I'm pretty sure it was on eBay but I can't find it on there Heres a little drawing I made of the STOCK setup on mine, not sure if it will be of help to you or not.

__________________
149 with kwik-way loader,1772,two 1782 super smokers, 982 SGT w 54" haban blade,60" haban deck, 50in deck cat 0 3 point, brinly cat 0: blade, plow(3), disc.123,hydro lift. 61"O" Brinly single row planter,brinly cultivator,#2 trailer,brinly 10 inch plow,3 42 inch blades,Model #1 Tiller with extenstions,haban sickle mo. 106w/ags and hydro lift.
Reply With Quote
  #3  
Old 12-06-2013, 10:24 AM
ssechrist ssechrist is offline
Senior Member
 
Join Date: Feb 2013
Location: Oklahoma
Posts: 154
Default

Quote:
Originally Posted by cub123 View Post
I know what your talking about, I'm pretty sure it was on eBay but I can't find it on there Heres a little drawing I made of the STOCK setup on mine, not sure if it will be of help to you or not.

That drawing looks like it may be the one that looks factory but the measurements are very helpful, thank you.
I was positive I seen it on the xtrememotorworks.com website but I don't see it there now. I liked it because the had an adjustment on it where you could raise or lower to control your depth.
Reply With Quote
  #4  
Old 12-06-2013, 10:38 AM
cub123's Avatar
cub123 cub123 is offline
Grand Member
 
Join Date: Dec 2010
Location: VA
Posts: 1,545
Default

Quote:
Originally Posted by ssechrist View Post
That drawing looks like it may be the one that looks factory but the measurements are very helpful, thank you.
I was positive I seen it on the xtrememotorworks.com website but I don't see it there now. I liked it because the had an adjustment on it where you could raise or lower to control your depth.
Yes, I got the measurements off my cat. 0 plow. You can adjust it simply by loosening the U bolt and sliding it up or down on the standard.
__________________
149 with kwik-way loader,1772,two 1782 super smokers, 982 SGT w 54" haban blade,60" haban deck, 50in deck cat 0 3 point, brinly cat 0: blade, plow(3), disc.123,hydro lift. 61"O" Brinly single row planter,brinly cultivator,#2 trailer,brinly 10 inch plow,3 42 inch blades,Model #1 Tiller with extenstions,haban sickle mo. 106w/ags and hydro lift.
Reply With Quote
  #5  
Old 12-06-2013, 08:23 PM
IHinIN's Avatar
IHinIN IHinIN is offline
Grand Member
 
Join Date: Sep 2009
Location: Indiana
Posts: 1,848
Default

Here's a couple pics of the gauge wheel that was on Ebay.



__________________
Adam

1964 Model 100 w/ K301 12hp and custom hydraulics
1972 Model 149 turned 129 w/ K301 12hp, triple hydraulics, 66 series clone
Reply With Quote
  #6  
Old 12-18-2013, 08:25 PM
dirtcowboy's Avatar
dirtcowboy dirtcowboy is offline
Senior Member
 
Join Date: Jan 2013
Location: Indiana
Posts: 384
Default

I bought the guage wheel kit from the gentleman on ebay & it works great. Makes plowing easy by setting depth. Here is the wheel kit on my brinly plow.
Attached Images
File Type: jpg 2013-10-19 18.23.43-1.jpg (25.4 KB, 305 views)
File Type: jpg 2013-05-16 19.42.19-1.jpg (27.0 KB, 299 views)
__________________
Cub Cadets: 582, 682, mini 5288 and 5488
Case International 235 compact

Implements: Brinly cat 0 moldboard plow, Briy cat 0 disk, field cultivator, 1 row cultivator, wheelhorse fertilizer spreader, drop seeder, dump wagon, 44 inch deck, 50" deck, 60" haban deck, front snowblade, brinly cat 0 rear blade, homemade weight bracket, thatcher, harrow, Bush Hog pull type 50" flail mower, Haban 54" snowblade, 6 foot crumbler, straight shank

Living a dream one row at a time
Reply With Quote
  #7  
Old 01-15-2014, 11:34 AM
rdehli rdehli is offline
Senior Member
 
Join Date: Aug 2009
Location: Waukon, Iowa
Posts: 436
Default Brinly plow depth-gage wheel

Anybody have any plans ...specs on a gage or depth wheel for a Brinly plow..??
Reply With Quote
  #8  
Old 01-22-2014, 04:24 PM
dirtcowboy's Avatar
dirtcowboy dirtcowboy is offline
Senior Member
 
Join Date: Jan 2013
Location: Indiana
Posts: 384
Default

I bought a complete guage wheel kit off ebay. The guy makes them and kit includes tire and wheel. It is all bot on and go. It works great, just set depth & plow no adjusting depth every time. The whole kit cost $55. Here is mine
Attached Images
File Type: jpg 2013-10-19 18.23.43-1.jpg (25.4 KB, 264 views)
__________________
Cub Cadets: 582, 682, mini 5288 and 5488
Case International 235 compact

Implements: Brinly cat 0 moldboard plow, Briy cat 0 disk, field cultivator, 1 row cultivator, wheelhorse fertilizer spreader, drop seeder, dump wagon, 44 inch deck, 50" deck, 60" haban deck, front snowblade, brinly cat 0 rear blade, homemade weight bracket, thatcher, harrow, Bush Hog pull type 50" flail mower, Haban 54" snowblade, 6 foot crumbler, straight shank

Living a dream one row at a time
Reply With Quote
  #9  
Old 01-22-2014, 09:04 PM
sgirdham's Avatar
sgirdham sgirdham is offline
Senior Member
 
Join Date: Mar 2013
Location: Davisburg, Michigan
Posts: 130
Default

If you plan on making one, do a google search to get an idea.
__________________
1981 IH Built 782- 44" deck

1650 dual stick

71 "121" round fender and replacement k301 carlisle tru powers and v61
Reply With Quote
  #10  
Old 01-23-2014, 08:25 AM
ssechrist ssechrist is offline
Senior Member
 
Join Date: Feb 2013
Location: Oklahoma
Posts: 154
Default

Does anyone have the name of the gentleman on ebay selling these kits?
I can't find them on there now.
Reply With Quote
Reply


Posting Rules
You may not post new threads
You may not post replies
You may not post attachments
You may not edit your posts

BB code is On
Smilies are On
[IMG] code is On
HTML code is Off

Forum Jump


All times are GMT -4. The time now is 09:32 PM.


Powered by vBulletin® Version 3.8.11
Copyright ©2000 - 2025, vBulletin Solutions Inc.

Cub Cadet is a premium line of outdoor power equipment, established in 1961 as part of International Harvester. During the 1960s, IH initiated an entirely new line of lawn and garden equipment aimed at the owners rural homes with large yards and private gardens. There were a wide variety of Cub Cadet branded and after-market attachments available; including mowers, blades, snow blowers, front loaders, plows, carts, etc. Cub Cadet advertising at that time harped on their thorough testing by "boys - acknowledged by many as the world's worst destructive force!". Cub Cadets became known for their dependability and rugged construction.

MTD Products, Inc. of Cleveland, Ohio purchased the Cub Cadet brand from International Harvester in 1981. Cub Cadet was held as a wholly owned subsidiary for many years following this acquisition, which allowed them to operate independently. Recently, MTD has taken a more aggressive role and integrated Cub Cadet into its other lines of power equipment.

This website and forum are not affiliated with or sponsored by MTD Products Inc, which owns the CUB CADET trademarks. It is not an official MTD Products Inc, website, and MTD Products Inc, is not responsible for any of its content. The official MTD Products Inc, website can be found at: http://www.mtdproducts.com. The information and opinions expressed on this website are the responsibility of the website's owner and/or it's members, and do not represent the opinions of MTD Products Inc. IH, INTERNATIONAL HARVESTER are registered trademark of CNH America LLC

All material, images, and graphics from this site are the property of www.onlycubcadets.net. Any unauthorized use, reproductions, or duplications are prohibited unless solely expressed in writing.

Cub Cadet, Cub, Cadet, IH, MTD, Parts, Tractors, Tractor, International Harvester, Lawn, Garden, Lawn Mower, Kohler, garden tractor equipment, lawn garden tractors, antique garden tractors, garden tractor, PTO, parts, online, Original, 70, 71, 72, 73, 76, SO76, 80, 81, 86, 100, 102, 104, 105, 106, 107, 108,109, 122, 123, 124, 125, 126, 127, 128, 129, 147, 149, 169, 182, 282, 382, 482, 580, 582, 582 Special, 680, 682, 782, 782D, 784, 800, 805, 882, 982, 984, 986, 1000, 1015, 1100, 1105, 1110, 1200, 1250, 1282, 1450, 1512, 1604, 1605, 1606, 1610, 1615, 1620, 1650, 1710, 1711, 1712, 1806, 1810, 1811, 1812, 1912, 1914.